Au programme : les secrets de ce qui pourraient être la future adidas adios pro 3
Cet article ne présage pas des futures sorties de la marque, il n’est issu que de mon analyse d’un brevet déposé par la marque et reflète potentiellement les activités des concepteurs.
Les informations présentées dans cet article proviennent de la demande de brevet EP3868242A2 déposée par adidas, en février 2020 et publiée en aout 2021.
Bientôt 1 an qu’adidas a sorti son adios Pro pour concurrencer les Vaporfly de Nike et forcément avec ces tiges au lieu de la plaque carbone un brevet devait se cacher derrière, le voici enfin publié !
Le principe
Celui évoqué dans le brevet semble assez similaire à la Vaporfly : l’objectif est d’apporter ridigité et amortissement autour de la zone des orteils et des articulations métatarsophalangiennes afin de réduire le mouvement de ceux-ci et la fatigue. En s’étendant dans la moitié avant de la semelle, les éléments de renforcement permettent de soutenir et de stabiliser les orteils et les articulations, qui sont soumis à des charges élevées pendant la course, contribuant ainsi à réduire la surcharge sur les groupes musculaires clés.
Les éléments de renforcement qui sont proposés peuvent contribuer à réduire le travail excentrique créé pendant la course, ce qui à son tour peut contribuer à réduire l’énergie perdue par l’athlète, ce qui peut réduire le travail effectué au niveau des articulations MTP, du genou, de la cheville et de la hanche. Moins de travail effectué signifie moins de fatigue et moins de surcharge.
Le plus d’adidas est de proposer des éléments de renfort qui peuvent également s’adapter à l’anatomie et à la physiologie du pied, contrairement aux éléments rigides unitaires comme la plaque de la Vaporfly.
En résumé, les éléments de renforcement prennent en compte la structure du pied humain et son anatomie. Le concept s’inspire du pied humain lui-même : en complétant la forme et l’anatomie naturelles du pied, il cherche à améliorer l’interface entre le pied et le sol, en favorisant le roulement de la foulée et en diminuant les forces d’impact, réduisant ainsi la surcharge sur la structure du pied et les groupes musculaires.
Les bénéfices
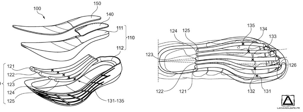
Le choix d’adidas s’est donc dirigé vers plusieurs éléments indépendant plutôt qu’une plaque.
Comme chaque élément de renforcement peut se déplacer indépendamment de l’autre, le pied ne se déplace pas comme avec une plaque. Une analogie intéressante est le piano et la main : lorsque l’on joue d’un piano en utilisant les cinq doigts, chaque doigt peut frapper une touche sans que les autres touches soient enfoncées, de sorte que le déplacement de gauche à droite peut se faire à une vitesse différente et avec un meilleur contrôle de chaque touche. En revanche, si l’on utilisait une plaque au lieu de cinq doigts individuels, on ne pourrait pas presser les différentes touches indifféremment. De même, à l’aide des éléments de renforcement individuels, chaque élément peut être activé individuellement d’un côté latéral à un côté médial pendant la course pour créer une conduite souple et stable, alors qu’une plaque s’active en une seule fois et pourrait donc être moins stable.
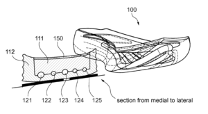
Les brins de renfort ont une forme de « louche » dans la moitié antérieure du pied, similaire à une plaque, dans laquelle les orteils et, en particulier, les os métatarsiens et les articulations métatarsophalangiennes (MTP) peuvent reposer. De plus, cette géométrie favorise particulièrement le guidage des structures osseuses métatarsiennes et phalangiennes dans une position anatomiquement efficace lors de la phase d’appui, et l’augmentation du bras de levier entre la cheville et le sol lors de l’appui des orteils.
Chaque brins a donc un point bas qui peut être adapté à l’anatomie du pied par exemple avec la position des articulations MTP. On sent donc venir ici une possibilité d’individualisation de la semelle en fonction des paramètres intrinséques à l’athlète. On en reparlera en conclusions.
Dans la zone du talon, les éléments de renforcement plus droits sont bénéfiques, pour fournir une meilleur degré de stabilité pendant l’attaque du talon. Dans la zone du talon, il y a principalement un seul os en contact pendant la phase d’appui, à savoir le calcanéum. Contrairement à l’avant du pied, il n’y a donc pas besoin d’avoir une indépendance entre différentes zones. Une structure de type plaque peut donc faire l’affaire.
L’avenir de l’adios Pro
Jusqu’ici on a décrit ce qui est une adidas adios Pro 1 ou 2 mais le brevet amène quelques détails supplémentaires dans les réalisations possibles et ce qui pourrait être la prochaine amélioration de l’adios Pro.
![[Brevet] Les secrets de la future adidas adios pro 3 4](https://www.lacaveajaife.fr/wp-content/uploads/2021/08/adidas_adios_pro-1024x381.jpg)
Premièrement, les brins ne sont pas positionnés précisément sous les os mais ils sont légèrement décalés vers le gros orteils pour aider le centre de masse à se déplacer vers celui-ci pour une efficacité de poussée maximale. On peut déjà distinguer ce léger décalage sur l’adios Pro sur les 2ième et 3ième phalanges.
Deuxièmement, les brins de renforcement correspondant au premier et au troisième os métatarsien pourraient avoir une rigidité à la flexion plus élevée que les autres éléments en jouant sur le diamètre de ces brins. Une rigidité accrue du premier métatarsien est bénéfique car il s’agit généralement de la structure la plus grande et la plus solide des cinq métatarses du pied, qui doit donc exercer et supporter les forces les plus élevées pendant la course. Le troisième métatarsien au centre du pied, se situe naturellement autour du centre de pression pendant la phase d’appui du cycle de marche pendant la course, et doit donc bénéficier également d’un soutien accru. Ces 2 « petites » améliorations pourraient amener à une chaussure plus stable.
Une version « piste » pour des pointes est aussi présente dans le brevet où les brins sont reliés à l’avant de la semelle
Mais adidas peut aller encore plus loin !

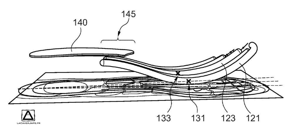
Les concepteurs de la marque allemande ont réfléchi à une structure entièrement en brin du talon aux orteils. La semelle suivante comprend à nouveau une semelle intermédiaire, qui peut être en un matériau de type particules (Boost) et/ou en mousse homogène. La structure de renforcement est partiellement incorporées dans les semelles. Les brins de renforcement sont reliés et se fondent les uns dans les autres dans certaines régions de la semelle, en particulier sous le talon. On pourra noter qu’au moins deux des éléments de renforcement de sont indépendants l’un de l’autre où ils peuvent réagir et se déformer indépendamment sous une charge de pression pendant la marche ou la course, en particulier dans la moitié avant de la semelle.
Dans l’extrême cette version peut inclure une boucle au niveau du talon qui permet de maintenir l’arrière de la tige de la chaussure

Conclusion
Cette configuration développé par adidas est interessante. la reflexion ne pas mettre une plaque complète mais une structure qui s’inspire du chemin de pression est une alternative qui peut être plus légère. On serait presque sur de l’optimisation topologique.
Au delà de la nouvelle configuration entièrement en brin, je retiendrai un autre élément : la customisation possible des brins à l’anatomie ou à la foulée. C’est la porte ouverte a beaucoup de choses et d’un point de vue du règlement de World Athletics cela semble être une grande zone d’ombre. Comment distinguer un prototype camouflé dans une semelle classique qui embarque un système adapté à l’athlète d’une chaussure du commerce ?
On n’a pas fini d’entendre parler des « super shoes »

![[Brevet] Les secrets de la future adidas adios pro 3 1](https://i0.wp.com/www.lacaveajaife.fr/wp-content/uploads/2021/08/banner_adidas_patent_adios-scaled.jpg?resize=820%2C360&ssl=1)
![[Brevet] Les secrets de la future adidas adios pro 3 2](https://www.lacaveajaife.fr/wp-content/uploads/2021/08/adidas_anatomie-1024x440.jpg)
![[Brevet] Les secrets de la future adidas adios pro 3 8](https://www.lacaveajaife.fr/wp-content/uploads/2021/08/adidas_piste-1024x213.jpg)