Au programme : à l’intérieur de la nouvelle evoSPEED Naio NITRO Elite de puma
Cet article ne présage pas des futures sorties de la marque, il n’est issu que de mon analyse d’une demande de brevet déposée par la marque et reflète potentiellement les activités des concepteurs.
Les informations présentées dans cet article proviennent de la demande de brevet WO2022157582A1 déposée par puma SE, en décembre 2021 et publiée en juillet 2022.
On va s’attaquer aujourd’hui à une chaussure de piste pour changer !
Les pointes d’athlétisme
Courir sur la piste de 60m à 10000m ce n’est pas comme courir un marathon. Pour cette intro, En intro, je vais vous parler d’un papier intéressant appelé Can We Quantify the Benefits of “Super Spikes” in Track Running? publié par Laura Healey, Montgomery Bertschy, Shalaya Kipp et Wouter Hoogkamer. Et justement Laura bosse pour Puma comme Wouter en ce moment ! Si les noms de Wouter Hoogmaker ou Shalaya Kipp vous disent quelque chose, c’est normal : ils étaient derrière le papier originel des 4% de la VaporFly de Nike.
Même si certains mécanismes peuvent être transposés de l’un à l’autre, il y a suffisamment de différences entre le sprint et la distance pour avoir des besoins différents. Alors que sur route, on vise surtout une « économie » d’énergie, un coût énergétique métabolique pour le sprint on parlera plutôt d’accélération et de vitesse maximale qui dépendent de la quantité de force horizontale propulsive produite à une vitesse donnée, ce qui représente plutôt une caractéristique force-vitesse de l’athlète. En résumé pour améliorer les performances, les pointes doivent permettre à un athlète de courir plus vite en augmentant son accélération, sa vitesse de pointe et/ou en améliorant son économie de course. Les exigences biomécaniques et énergétiques de chaque épreuve sur piste varient en fonction de la distance, d’où la nécessité de modifier les pointes pour les optimiser en fonction des différentes distances.
Ce que montre en premier lieu le papier, c’est que l’étude des « super spikes », ces nouvelles chaussures avec mousse résiliente et plaque composite est très mal documentée (voire nullement) : tout le monde s’est intéressé à la route, plus facilement quantifiable ! Mais les mêmes pistes sont évoquées :
- la rigidité : La rigidité à la flexion longitudinale est un paramètre important que ce soit sur marathon ou sur piste : augmenter la rigidité en en flexion permet la diminution de l’énergie perdue au niveau de l’articulation métatarso-phalangienne (MTP). Lors de la course et du sprint, l’articulation se met en dorsiflexion pendant la phase d’appui, absorbant l’énergie mécanique, et reste fléchie pendant la majeure partie de la poussée, restituant une faible partie de cette énergie. Ça semble facile sur le papier, et même si ce type de plaque existe depuis longtemps en athlétisme : en pratique, il y a ceux qui répondent et ceux qui ne répondent pas..
- La mousse : la grosse nouveauté de ces dernières années : plus légère, plus « compliante » elle permet d’ajouter du confort là où une pointe était très minimaliste.
- la géométrie et notamment l’épaisseur, que World Athletics contrôle maintenant sous les 20mm jusqu’au 800m et 25m au-delà!
Pourquoi est-ce si dur quantifier ?
Il y a 2 sources d’impact à quantifier : l’effet sur l’économie de course et sur la vitesse maxi et l’accélération. Pour le premier c’est assez simple, comme une super shoes, il suffit de courir à allure constante en aérobie. Mais cela ne capte pas l’ensemble des efforts réalisés sur la piste : que ce soit les courtes distances ou le dernier tour d’un 10000m. Pour le sprint, on ne parle plus d’aérobi,e mais d’anaérobie, de hautes intensités. Cet effort est difficilement répétable dans les mêmes conditions et en plus la mesure de l’énergie métabolique anaérobique n’est pas fiable et/ou nécessite un matériel très invasif ! Par le passé, certains ont mesuré la concentration de lactacte dans le sang pour déterminer ce coût énergétique spécifique mais ce n’est pas le bon marqueur à regarder dans ce cas.
Le brevet de puma
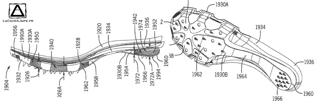
Le principe du brevet de puma est d’ajouter sur la semelle intermédiaire 2 espacements : un à l’arrière au niveau du talon et un plutôt à l’avant sous la tête des métatarses.
L’espacement avant possède une forme incurvée pour offrir un rocker prononcé. Ainsi, la hauteur de l’espacement peut varier le long de la longueur incurvée, augmentant d’abord de l’avant-pied à une hauteur d’espacement maximale, puis diminuant vers le milieu du pied. La hauteur maximale de l’espacement avant est située sous la tête de la première méta du pied.
De la même façon, l’espace arrière va avoir une hauteur croissante depuis le milieu jusqu’à une hauteur maximale sous le talon du coureur.
Dans certaines configurations, les concepteurs de puma proposent de mettre un élément de confort dans cet espace. On peut penser ici à un système équivalent au Zoom Air de la Nike Air Zoom Victory par exemple positionné à l’avant de la chaussure. Cet élément peut être fait en mousse super critique ( en TPU, EVA ou PEBA) ou une mousse d’EVA simple (comme la PUMA® ProFoam Lite™ ou IGNITE Foam)
Puma indique quelques détails sur les niveaux de compressions attendus des différentes zones.
Pour une hauteur h1 dans la zone avant au repos, on peut s’attendre à comprimer de 5 à 10 % en position debout et de 50% à 90% en courant. Pour la zone arrière h2 se comprimera de 10 à 30% debout et de 90% à 100% en courant.
On retrouve les revendications classiques liées à ce type « d’amortisseurs » dans les détails du brevet : absorption des forces d’impact, effet ressort quand la pression est relachée et réduction des contraintes sur le pied et les tendons (…) qui peuvent toujours laisser perplexe (encore plus pour une paire de pointes)
La evoSPEED Naio NITRO Elite
Vous avez surement déjà vu une paire de pointse issue de ce brevet : la evospeed Naio Nitro Elite qui a été portée notamment lors des championnats du monde 2022 à Eugene par Karsten Warholm ou aux récents championnats d’Europe à Munich.Une des réalisations décrites dans le brevet est proche du nouveau modèle de la marque allemande. Sur ce modèle, le volume avant est défini par 6 segments qui portent aussi les pointe. La géométrie des segments en forme de U (vert) permet d’offrir de la souplesse pour compresser l’élément de confort (jaune) qui occupe la partie centrale de cet espacement. Des nervures (vert pale) ajoute de la rigidité à la partie centrale (vert pale) de la semelle et contribuent à soutenir la voûte plantaire. Cette partie est en carbone sur le modèle de puma. Un système similaire est mis en place sur la zone du talon avec 2 segments en U et un insert « amortisseur ».
![[Brevet] La nouvelle invention de Puma pour la piste 4](https://www.lacaveajaife.fr/wp-content/uploads/2022/08/Semelle_evospeed-1024x647.jpg)
On se retrouve donc avec une structure continue quasiment monobloc sur 2 niveaux dont un niveau qui porte les pointes. Cet organe continue est une des différences avec la evoSPEED Naio NITRO Elite car Puma a du se conformer au règlement de World Athletics (parfois bancale sur les chaussures: c’est quoi rigide ?). La partie carbone s’étend jusqu’à l’avant de la semelle et les segments en U sont fixés dessus contrairement au brevet où la partie avant est monobloc et rattaché au partie médial.
Je m’explique, voici le réglément :
10.6 Until further notice, unless in exceptional circumstances and specifically agreed by the Competition Commission in writing, any Athletic Shoe used in Applicable Competitions:
- 10.6.1 (except where Regulation 10.6.3 applies) must not contain more than one rigid structure (e.g. plate, blade etc.) whether that structure runs the full length of the shoe or only part of the length of the shoe;
- 10.6.2 the one rigid structure referred to in Regulation 10.6.1 may be in more than one part, but those parts must be located in one plane (i.e. must not be stacked above each other, must not overlap);
- 10.6.3 may contain one additional rigid structure or other mechanism (e.g. plate, blade etc.) only where used solely to attach spikes to the outer underside of the shoe. For the avoidance of doubt, the additional rigid structure to attach spikes cannot be a continuation of the rigid structure referred to in Regulation 10.6.1;
10.6.1 : pas de soucis une seule structure visible sur la photo!
10.6.2 : ça se complique, on est sur 2 plans! Le premier est proche du pied sur le dessus de la semelle intermédiaire en carbone (PWRPlate) et l’autre formé par les U qui reviennent proches du sol: elles sont donc empilées sur une partie de l’avant du pied
10.6.3 : La seconde partie porte les pointes, et c’est ce qui sauve complètement Puma c’est d’avoir fait cette seconde partie en TPU pour la différencier de la plaque en carbone.
Conclusion
Avec ce brevet, puma semble avoir verrouillé un ensemble de construction de semelle plutôt orientée pour la piste avec des espacements à l’avant et à l’arrière avec ou sans insert de confort. La construction de Puma quasiment monobloc est très intéressante, mais le règlement limite aujourd’hui ce genre de structure, ce qui a entrainé quelques modifications pour l’appliquer à la la evoSPEED Naio NITRO Elite. Reste à voir s’ils auront au bout de leur idée avec aussi un empêchement arrière pour des distances plus longues comme le 5000 et 10000m.
On peut deviner que les « plaques » commencent à devenir plus complexes : structures 3D, « multi fonction ». Cet élément risque de devenir de plus en plus intégré et le règlement de World Athletics bien vite dépassé.

![[Brevet] La nouvelle invention de Puma pour la piste 1](https://i0.wp.com/www.lacaveajaife.fr/wp-content/uploads/2022/08/Banner_evospeed_puma-scaled.jpg?resize=820%2C360&ssl=1)
![[Brevet] La nouvelle invention de Puma pour la piste 6](https://www.lacaveajaife.fr/wp-content/uploads/2022/08/New_spikes_puma-1024x322.jpg)