Au programme : les détails de la semelle de l’AlphaFly 3 et une surprise
Cet article ne présage pas des futures sorties de la marque, il n’est issu que de mon analyse d’une demande de brevet déposée par la marque et reflète potentiellement les activités des concepteurs.
Les informations présentées dans cet article proviennent des demandes de brevet déposée par Nike, en octobre 2022 et publiée en avril 2023.
Vous avez sûrement déjà vu apparaître sur les réseaux sociaux la nouvelle Nike Alphafly 3 qui s’est laissé photographier sur diverses courses ou aux pieds de Kipchoge avec un scotch qui masquait notamment l’Air Zoom pod sur l’avant de la chaussure.
Les modification de la semelle de la nouvelle Alphafly 3
En avril dernier a été publiée une demande de brevet qui se rapproche fortement de ce qui semble être cette nouvelle Alphafly. Cette demande porte principalement sur la construction de la semelle qui marque une nette différence avec la génération précédente.
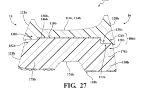
Ce qui est flagrant est la « simplicité » de la nouvelle construction comparée avec la première Alphafly. La première génération comportait 9 éléments : une outsole en 3 parties, une seconde partie de midsole en 2 parties, la partie haute de la midsole en 1 seule partie et bien sur les 2 AirZoom Pods et la plaque carbone.

On garde les éléments majeurs: les 2 air zooms Pods (en rose), pour offrir un amorti au pied en se comprimant de manière résiliente, ce qui permet d’atténuer davantage les forces de réaction au sol, la plaque carbone (en jaune) et la outsole (bien que la demande de brevet propose une variante outsole monobloc) et on revoit totalement la construction en mousse supercritique et aussi l’intégration des coussinets.
Ceux-ci reposaient précédemment sur des encoches faites dans la partie avant de la semelle extérieure (outsole), ils sont maintenant dans des encoches qui sont dans la partie basse de la semelle intermédiaire (midsole). Cela entraîne une modification importante de la partie basse de la midsole qui était auparavant scindée en 2, elle est maintenant monobloc et va du talon à la pointe du pied sans interruption.
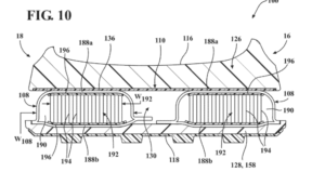
Ce design offre une configuration de pods qui contribue à une meilleure stabilité et un meilleur support latéral, idéal pour les mouvements multidirectionnels.
![[Brevet] Ce qu'il y a dans la semelle de l'AlphaFly 3 4](https://snkrdunk.s3.ap-northeast-1.amazonaws.com/en/magazine/wp-content/uploads/2023/05/15141126/Nike-Air-Zoom-Alphafly-NEXT-3-22Prototype22-3.jpg)
De plus, ces 2 couches de mousse pourraient avoir des propriétés différentes : la couche supérieure peut être composé d’une mousse offrant un meilleur amortissement et aussi une meilleure répartition des chocs, tandis que la couche inférieure peut être composé d’une mousse plus rigide pour améliorer la stabilité. Nike ne semble pas avoir fait ce choix sur cette version de l’Alphafly 3, en tout cas il n’est pas visible.
![[Brevet] Ce qu'il y a dans la semelle de l'AlphaFly 3 6](https://www.lacaveajaife.fr/wp-content/uploads/2023/07/Capture-decran-2023-07-24-a-20.59.11-188x300.png)
On peut apprendre aussi de la demande de brevet que la taille du receptacle qui accueille les pods permet de moduler la flexibilité de l’avant de la chaussure: plus sa longueur est grande, plus la semelle sera flexible.
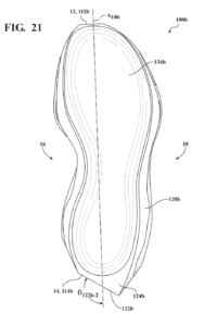
La seconde « nouveauté » moins flagrante est la forme du postérieur de la semelle au niveau du talon. Ce profil émoussé offrirait, d’après les concepts de Nike, une meilleure stabilité et un meilleure soutien longitudinal pendant la phase d’attaque du talon, tout en minimisant le poids de la structure de semelle Cela peut contribuer à améliorer le confort et les performances lors de la marche ou de la course. Pour ceux qui suivre de près les prototypes de la marque, vous aurez noté que cette zone a évolué entre le proto « noir » (le premier apparu) et le blanc (apparu au marathon de Tokyo)
Une version survitaminée de la Nike Alphafly 3 ?
Une autre version est décrite très orientée sur la stabilité, est-ce qu’une concurrente de l’adidas Prime X ou de la New Balance SC Trainer se cacherait dans les traits de cette chaussure ?
![[Brevet] Ce qu'il y a dans la semelle de l'AlphaFly 3 8](https://www.lacaveajaife.fr/wp-content/uploads/2023/07/AlphaFlyPlus-1024x332.jpg)
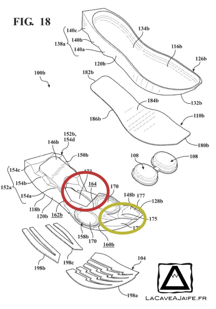
Basée sur la même construction, cette version offre quelques spécificités :
- L’arrière de la structure supérieure s’emboite sur la partie inférieure. Ces 2 parties sont en forme trapézoïdale pour améliorer la stabilité
![[Brevet] Ce qu'il y a dans la semelle de l'AlphaFly 3 10](data:image/gif;base64,R0lGODlhAQABAIAAAAAAAP///yH5BAEAAAAALAAAAAABAAEAAAIBRAA7)
la forme trapézoïdale de l’arrière de la semelle - L’emboitement se fait avec des formes de montagnes ce qui maximise la surface de contact entre le membre d’amorti supérieur et inférieur et donc améliore la stabilité de la chaussure.
- Une rainure (en jaune) est présente sur l’avant de la partie inférieur de la semelle. Cela permet d’offrir une plus grande flexibilité latérale au niveaux des orteils. Autrement dit, la rainure permet aux pods de se plier plus facilement d’un côté à l’autre au niveau des orteils.
- La partie inférieure comporte aussi une ouverture (en rouge) sur la partie médiale de la chaussure (comme on peut le voir sur les adidas adizero pro par exemple). Cela permet d’améliorer le mouvement de torsion de la chaussure.
![[Brevet] Ce qu'il y a dans la semelle de l'AlphaFly 3 12](https://www.lacaveajaife.fr/wp-content/uploads/2023/07/Alphaflyplussemelle-715x1024.jpg)
Conclusion
On avait déjà évoqué une meilleure intégration des pods, il y a 2 ans avec un autre brevet c’est maintenant chose faite avec cette nouvelle Alphafly. La sensation de course risque d’être différente avec le pod qui repose sur de la mousse et non sur la semelle extérieure. Mais je pense que Nike ne s’arrêtera pas là : ils ne sont pas présents sur le marché des super chaussures d’entrainements (Prime X, SC Trainer) alors que ces chaussures embarquent des technologies qu’ils maitrisent. La seconde alternative présentée dans le brevet semble donc une bonne hypothèse pour voir la marque américaine débarquer sur ce créneau.

![[Brevet] Ce qu'il y a dans la semelle de l'AlphaFly 3 1](https://i0.wp.com/www.lacaveajaife.fr/wp-content/uploads/2023/07/banner_nike_alphafly3-scaled.jpg?resize=820%2C360&ssl=1)
![[Brevet] Ce qu'il y a dans la semelle de l'AlphaFly 3 2](https://www.lacaveajaife.fr/wp-content/uploads/2023/07/Capture-decran-2023-07-25-a-21.39.10-300x159.png)
![[Brevet] Ce qu'il y a dans la semelle de l'AlphaFly 3 10](https://www.lacaveajaife.fr/wp-content/uploads/2023/07/Capture-decran-2023-07-25-a-21.37.44-300x193.png)