Au programme : la semelle de la Metaride d’Asics
Cet article ne présage pas des futures sorties de la marque, il n’est issu que de mon analyse d’un brevet déposé par la marque et reflète potentiellement les activités des concepteurs.
Les informations présentées dans cet article proviennent de la demande de brevet EP3542660 déposée par Asics Corporation.
L’idée du brevet
On va parler ici de la semelle de la Metaride d’Asics. Ces chaussures datent de l’année dernière, sortie en mars 2019. Elles avaient fait parler d’elles à cause de la structure de la semelle : une courbure prononcée avec un trou au milieu. Pourquoi ce vide ?
Le brevet décrit une semelle de capable d’améliorer la reproductibilité du lieu du mouvement (centre de pression notamment) et les performances d’absorption des chocs et de stabilité.
Pour cela, vers l’arrière où la semelle intermédiaire est la plus épaisse, on forme un tunnel et sur l’avant, c’est une rainure. La semelle intermédiaire est l’endroit propice, car c’est le plus « absorbant » d’une semelle (la semelle extérieure étant trop dur). Ce tunnel peut être ou non rempli par un matériau plus souple que celui de la semelle.
Le principe
La figure ci-dessous montre une coupe d’un modèle dynamique de la semelle de la Metaride. On dirait un de mes TP de RDM d’il y a 10 ans 😀
![[Brevet] les secrets d'Asics et sa MetaRide 2](https://www.lacaveajaife.fr/wp-content/uploads/2020/04/deformation-du-tunnel-300x280.jpg)
Si une charge uniformément répartie est appliquée sur la surface supérieure de la semelle, la déformée (réalisée par simulation numérique) de la semelle ressemble à cela. Les inventeurs ont constaté que la déformation résultant de la charge devient plus importante lorsque la distance entre le creux et la surface supérieure de la semelle se rapproche.
La déformation permet d’obtenir non seulement l’absorption des chocs, mais aussi la stabilité de la performance et la reproductibilité en cours d’exécution. Ainsi, la disposition et la forme d’un creux devraient améliorer chacune des performances recherchées par le coureur.
La déformation a un effet sur la position du centre de pression, mais aussi sur la vitesse de déplacement Vc du celui par la position et la forme du creux dans la semelle, selon Asics.

Pendant la course, un moment est généré autour des articulations et provoque une charge sur les muscles. L’amplitude du moment est déterminée par le produit extérieur d’un vecteur de force de réaction du sol reçu du sol et d’une distance à l’articulation (bras de levier). Un point d’action de cette force correspond au centre de pression. Ainsi, le contrôle de la position du centre de pression permettra de contrôler l’amplitude du moment.
Ce moment généré pendant la course atteint plusieurs pics à différent instant de la période du soutien du genou et de un pic pour le cycle de la cheville. Ainsi, le contrôle de la vitesse de déplacement du centre de pression devrait apporter un bénéfice, en particulier dans une plage de 30 à 40% à partir de l’extrémité postérieure et dans une plage de 50 à 100% à partir de l’extrémité postérieure correspondant aux points dans le temps des instants mentionnés ci-dessus.
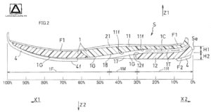
Pour mieux comprendre ce qui va suivre, regardez la figure de la semelle de la MetaRide juste en dessous
Si le creux est incliné vers le haut suivant la direction avant X1, la déformabilité augmente vers la direction X1. Ainsi, le centre de pression CoP devrait se déplacer vers l’avant dans la direction X1 à une vitesse croissante. Inversement, si le creux descend, la déformabilité est réduite suivant la direction X1 et la vitesse devrait diminuer.
La MetaRide : tout est dans la semelle
La semelle de la chaussure d’Asics se découpe en plusieurs zones suivant les fonctions dédiées précédentes et sur la base d’une attaque talon.
![[Brevet] les secrets d'Asics et sa MetaRide 4](https://www.lacaveajaife.fr/wp-content/uploads/2020/04/metaride-300x160.jpg)
La trajectoire du centre de pression lors d’une attaque talon est la suivante, gardez la tête pour la suite
Dans la plage de 0 à 10 %, la structure ascendante dans la direction avant X1 est utilisée pour encourager le centre de pression à commencer à se déplacer vers la direction avant X1 en douceur après l’atterrissage.
Dans la partie arrière du pied, en particulier dans une fourchette de 10 à 20% à l’extrémité postérieure, une grande force de réaction est appliquée à partir du sol, de sorte qu’une grande capacité d’absorption des chocs est nécessaire. En réponse à cela, la partie en tunnel est disposée dans la moitié supérieure de la semelle intermédiaire pour améliorer la déformabilité.
Comme décrit ci-dessus, un moment autour d’une articulation du genou atteint un pic dans la plage de 30 à 40 %. À ce moment, la position du centre de pression et celle de l’articulation du genou l’une par rapport à l’autre sont considérées comme étant telles que le centre de pression est plus proche de la direction X1 vers l’avant. Ainsi, le maintien du centre de pression dans la direction arrière X2 autant que possible est considéré comme important pour réduire la vitesse de déplacement.
À cet égard, dans la plage de 30 à 40% à partir de l’extrémité postérieure Se, la partie de tunnel 1T est inclinée vers le bas pour réduire la vitesse de déplacement du centre de pression.
Dans la plage 50 à 80%, la position du centre de pression, celle du genou et celle de la cheville sont considérées comme étant telles que l’articulation de la cheville, le centre de pression et l’articulation du genou sont situés dans cet ordre, vu de l’arrière. Ainsi, pour réduire la distance entre l’articulation du genou et le centre de pression, le centre de pression est déplacé vers l’avant autant que possible pour augmenter sa vitesse de déplacement . Tandis que, pour réduire la distance entre l’articulation de la cheville et le centre de pression, le centre de pression est maintenu en direction de l’arrière autant que possible pour réduire sa vitesse de déplacement.
Comme on l’a compris de ce qui précède, il y a 2 options donc :
![[Brevet] les secrets d'Asics et sa MetaRide 6](https://www.lacaveajaife.fr/wp-content/uploads/2020/04/option-asics-1024x320.jpg)
- Si l’on veut réduire la charge sur une position autour de l’articulation du genou, la partie de tunnel est disposée plus près de la surface supérieure de la semelle intermédiaire dans la plage de 50 à 80% de l’extrémité postérieure comme le montre la première figure pour augmenter la vitesse de déplacement du centre de pression.
- Si l’on veut réduire la charge sur une position autour de l’articulation de la cheville, la partie de la rainure 1G est disposée plus près de la surface inférieure de la semelle intermédiaire comme le montre la seconde figure pour réduire la vitesse de déplacement du centre de pression.
Pour la MetaRide, Asics a choisi l’option 2 pour privilégier le soutien de la cheville.
La GlideRide de la marque japonaise est une variante issue de ce même brevet. Ici c’est une gorge qui se termine dans une cavité fermée par un insert en gel.
![[Brevet] les secrets d'Asics et sa MetaRide 8](https://www.lacaveajaife.fr/wp-content/uploads/2020/04/Glideride-300x184.jpg)
Les résultats d’Asics
Asics a mis à l’épreuve plusieurs de ces concepts pour tester leur efficacité en fonction du but recherché.
la chaussure Test ex. 1 comprend un tunnel sur l’arrière de la chaussure puis une portion de rainure. Comp. 1, à titre d’exemple comparatif, ne comprend qu’une rainure et Comp. 2, ni l’un ni l’autre.
Comme le montre la figure ci-dessus, Test ex. 1 est significativement meilleur que la Comp. 2 en termes de reproductibilité en cours d’exécution, et est encore meilleur en termes de reproductibilité en cours d’exécution que le test Comp.1. La raison possible, évoquée par Asics, est qu’un le trajet du centre de pression est guidé le long de la partie tunnel puis de la rainure ce qui le rends plus constant.
![[Brevet] les secrets d'Asics et sa MetaRide 10](https://www.lacaveajaife.fr/wp-content/uploads/2020/04/Readibility-300x219.png)
La figure suivant montre que, Test ex. 1 donne une charge par unité de temps plus faible et est donc meilleure en termes d’absorption des chocs dans la partie arrière du pied pendant la course que les tests Comp. 2 et Comp. 1. La raison est que la partie du tunnel est susceptible de se déformer plus comme nous avons pu le voir dans la simulation numérique.
![[Brevet] les secrets d'Asics et sa MetaRide 12](https://www.lacaveajaife.fr/wp-content/uploads/2020/04/cushion-300x236.jpg)
La chaussure test ex.1 avec un tunnel ascendant sur la partie arrière est capable de réduire la vitesse du premier pic dont nous avons parlé précédemment alors la que la chaussure test ex.4 avec un tunnel ascendant sur la partie centrale du pied elle permet d’augmenter la vitesse du 3ième pic.
![[Brevet] les secrets d'Asics et sa MetaRide 14](https://www.lacaveajaife.fr/wp-content/uploads/2020/04/Reduction-des-pics-300x208.png)
Conclusion
La chaussure ou plutôt les chaussures décrites dans ce brevet sont conçus autour d’une attaque talon pour améliorer le confort du coureur par l’absorption des chocs. L’Asics Institute of Sport Science qui est derrière la plupart des études présentes dans ce brevet a mis en place un ensemble d’outils assez intéressant pour réussir à sortir cette semelle : simulation numérique, essais comparatifs sur différentes configurations. Avoir un laboratoire biomécanique en interne capable de réaliser ce type d’étude est une nécessité pour les marques innovantes, Asics le montre encore ici.
Asics parle beaucoup de retour d’énergie avec cette chaussure, rien n’est mentionné dans le brevet.

![[Brevet] les secrets d'Asics et sa MetaRide 1](https://i0.wp.com/www.lacaveajaife.fr/wp-content/uploads/2020/04/banner_metaride-scaled.jpg?resize=820%2C360&ssl=1)