Au programme : les dessous de la nouvelle ON Cloudboom Strike LS
Cet article ne présage pas des futures sorties de la marque, il n’est issu que de mon analyse d’une demande de brevet déposée par la marque et reflète potentiellement les activités des concepteurs.
Les informations présentées dans cet article proviennent de la demande de brevet déposée WO2024133187A1 par On Clouds, en octobre 2022 et publiée en juin 2024.
On parle beaucoup de la Cloudboom Strike ces derniers jours avec notamment avec sa « drop-in midsole », la semelle intermédiaire amovible : la Bounceboard en mousse Helion Hyperfoam mais ON a aussi dans ses cartons une version encore plus en rupture : la Cloudboom Strike LS. D’après mes recherches, l’acronyme LS est pour LightSpray, la méthode de réalisation de la tige !
L’innovation dans cette version porte sur la tige et la liaison avec la semelle !
Avant de rentrer dans le vif du sujet, il est intéressant de faire un peu « d’histoire » autour de cette technologie. ON travaille dessus depuis plus de 5 ans, alors que la marque n’avait dans son catalogue aucune « super shoes » ! La première demande de brevet a été publiée en mars 2022, il y est décrit la méthode de fabrication de la tige par application d’un filament de thermoplastique fondu. En continuant de remonter, on peut voir que Johannes VOELCHERT l’un des inventeurs cités, a travaillé durant ses études à l’université de Halle (Burg Giebichenstein University) sur un pistolet qui pulvérise du TPE-U directement sur le pied d’un sujet ! La veille technologique permet de capter ces éléments au plus tôt !
ON a publié une courte video qui retrace l’histoire de LightSpray, je vous laisse découvrir en détails le travail d’innovation autour de cette technologie
Les avantages de l’invention du LightSpray
Traditionnellement, cette connexion repose sur des coutures et des agents adhésifs, qui peuvent se détériorer avec le temps, surtout sous des conditions d’utilisation intense comme en course à pied. Les ingénieurs de ON proposent une solution innovante en utilisant des matériaux thermoplastiques pour créer une liaison directe entre la semelle et la tige, éliminant ainsi le besoin de coutures et d’adhésifs externes. Avec cette liaison par l’extérieur, cela élimine aussi le besoin de strobel voire de première propreté donc moins de poids et plus de possibilité de mettre de la mousse en restant dans les 40mm des règles de World Athletics.
Pour les coureurs, une connexion sans coutures et sans adhésifs signifie une réduction des points de pression et des irritations potentielles, ce qui se traduit par un confort amélioré. Cela va dans le même sens que l’utilisation de la BounceBoard, qui place directement la mousse sous le pied, sans strobel, colle ou couture. Cette technologie permet une meilleure adaptabilité de la chaussure à la forme du pied.
Par exemple, en prenant un scan 3D du pied et en fabriquant un last basée sur ce scan, il est possible de faire un ajustement personnalisé. La fabrication de ce last peut se faire par fabrication additive, assurant ainsi une correspondance parfaite avec les contours individuels du pied du porteur.
La marque suisse a déposé 3 versions auprès de World athletics (et une quatrième avait déjà déclaré comme prototype)
Description de la Cloudboom Strike LS
La chaussure développée selon cette nouvelle technologie se compose de deux principaux composants : une unité de semelle et un composant supérieur. L’unité de semelle comprend une portion de bord thermoplastique, tandis que le composant supérieur est fabriqué à partir d’un matériau thermoplastique. La spécificité de cette chaussure réside dans 2 éléments : Le composant supérieur (aussi appelé tige) et la liaison directe par engagement de matériau entre la portion de bord thermoplastique de la semelle et le composant supérieur
Le composant supérieur peut être constitué d’un filament de matériau thermoplastique. Ce filament est distribués de manière régulière, formant une structure en boucle. Cette configuration permet une flexibilité et une meilleure résistance de la tige, tout en offrant une adaptabilité optimale à la forme du pied. Le matériau thermoplastique utilisé pour ces filaments est spécialement conçu pour être durable et résistant aux déformations.
Cela ressemble à un technologie de fabrication additive qu’avait essayé de breveter The North Face, où des fibres étaient extrudés et déposés sur un last pour créer un réseau de fibre cohérent et non tissé.
L’un des avantages majeurs de la fabrication additive est que la tige de la chaussure peut être ajustée individuellement au pied du coureur. Cependant, bien que la fabrication additive de tiges « massives » ou « à plat » soit relativement simple, la fabrication additive de textiles avec un motif ordonné, comme un motif tricoté ou tissé, reste un défi : au delà du cout, un problème est la liaison de matériaux non désirée entre différents filaments et fibres imprimés.
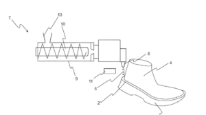
Méthode de fabrication
La méthode de fabrication de cette chaussure se déroule autour d’un bras articulé en plusieurs étapes clés :
![[Brevet] Les dessous de la nouvelle technologie de ON : LightSpray 4](https://www.lacaveajaife.fr/wp-content/uploads/2024/07/Capture-decran-2024-07-14-a-20.28.11-238x300.png)
1. Préparation de l’unité de semelle : L’unité de semelle est préparée avec une portion de bord thermoplastique.
2.Positionnement de la forme : Une forme est placée sur l’unité de semelle pour maintenir sa structure pendant le processus de fabrication.
3.Chauffage de la portion de bord thermoplastique : La portion de bord thermoplastique est chauffée jusqu’à ce qu’elle devienne fluide et malléable, atteignant une température de 200 à 250 °C.
4.Application du matériau supérieur thermoplastique fondu : Un matériau supérieur thermoplastique fondu est appliqué sur la portion de bord chauffée à l’aide d’une buse, formant ainsi le composant supérieur de la chaussure.
5.Durcissement et engagement de matériau : Le matériau thermoplastique fondu est ensuite durci, créant une liaison directe et solide entre la semelle et le composant supérieur.
Pour rentrer un peu plus dans les détails de la réalisation de la tige, le secret réside dans la buse qui permet d’obtenir une forme particulière au filament.
![[Brevet] Les dessous de la nouvelle technologie de ON : LightSpray 6](https://www.lacaveajaife.fr/wp-content/uploads/2024/07/Capture-decran-2024-07-14-a-20.39.52-300x141.png)
La buse utilisée possède une ouverture de sortie pour le matériau thermoplastique fondu et plusieurs ouvertures de sortie d’air. Ces ouvertures d’air sont disposées autour de l’ouverture centrale, et de l’air sous pression à environ 500°C est fourni à travers ces ouvertures pour guider le matériau thermoplastique fondu, l’appliquant sous forme de filament hélicoïdal. Ce filament hélicoïdal crée une structure en boucle du composant supérieur avec une multitude de boucles croisées mais non entremêlées, imitant ainsi un textile tricoté.
En sélectionnant soigneusement les propriétés du filament hélicoïdal, telles que le pas, la pente ou le rayon hélicoïdal, il est possible de varier les boucles formées sur le composant supérieur. Par exemple, des boucles plus étroites peuvent être utilisées dans les zones soumises à un stress mécanique élevé lors de la course, tandis que des boucles plus larges peuvent être appliquées dans les zones nécessitant une certaine flexibilité.
Conclusion
En résumé, cette nouvelle technologie de fabrication de chaussures de course représente une avancée significative dans l’industrie de la chaussure, cela revisite totalement la façon de fabriquer la chaussure. En éliminant les coutures et les adhésifs, cette méthode offre sur le papier un confort accru et une adaptabilité améliorée pour les coureurs. J’ai toutefois l’impression de revoir en partie le brevet de The North Face qui n’a jamais été concrétisé. Après plusieurs années à voir les marques se concentrer sur la semelle, il est intéressant de voir que la tige peut aussi être le coeur d’innovation !
Grâce à cette innovation, les ingénieurs de ON repoussent les limites de la conception de chaussures de course, ouvrant la voie à de nouvelles réalisations.

![[Brevet] Les dessous de la nouvelle technologie de ON : LightSpray 1](https://i0.wp.com/www.lacaveajaife.fr/wp-content/uploads/2024/07/banner_on_lightspray-scaled.jpg?resize=820%2C360&ssl=1)
![[Brevet] Les dessous de la nouvelle technologie de ON : LightSpray 2](https://www.lacaveajaife.fr/wp-content/uploads/2024/07/Capture-decran-2024-07-14-a-20.28.18-300x167.png)