Au programme : Saucony aurait-il déjà la remplaçante de l’Endorphin dans ses cartons ?
Cet article ne présage pas des futures sorties de la marque, il n’est issu que de mon analyse d’un brevet déposé par la marque et reflète potentiellement les activités des concepteurs.
Les informations présentées dans cet article proviennent de la demande de brevet US2021037911 déposée par Saucony Inc., en juillet 2020 et publiée en février 2021.
2020 a été l’année de la course à la « super shoes », les chaussures comportant une plaque carbone. Avec les JO de Tokyo en ligne de mire (fuyante) tout le monde, tout le monde a sorti (parfois à la hâte) sa chaussure pour concurrencer la Vaporfly ou l’AlphaFly de Nike. La marque américaine Saucony n’a pas échappé à la mode avec la gamme Endorphin dont la Pro embarque la fameuse plaque carbone.
Mais le brevet dont nous allons parler aujourd’hui ne ressemble pourtant pas à cette Endorphin Pro, c’est ce qui m’a intrigué. La plupart des autres manufacturiers ont choisi d’encapsuler totalement leur plaque carbone au milieu de la mousse de la semelle intermédiaire. Ainsi, celle située sous la plaque se déforme légèrement pour fournir un amorti du talon aux orteils. La mousse au-dessus de la plaque améliore le coussin entre le pied du porteur et la plaque, c’est une sorte de baquet pour le pied. La plaque étant entièrement intégrée dans la mousse, elle est moins susceptible de se rompre ou de se déformer sous l’effet des forces rencontrées lors de la course. Dans ce brevet, Saucony a fait le choix de ne pas totalement encapsuler sa plaque.
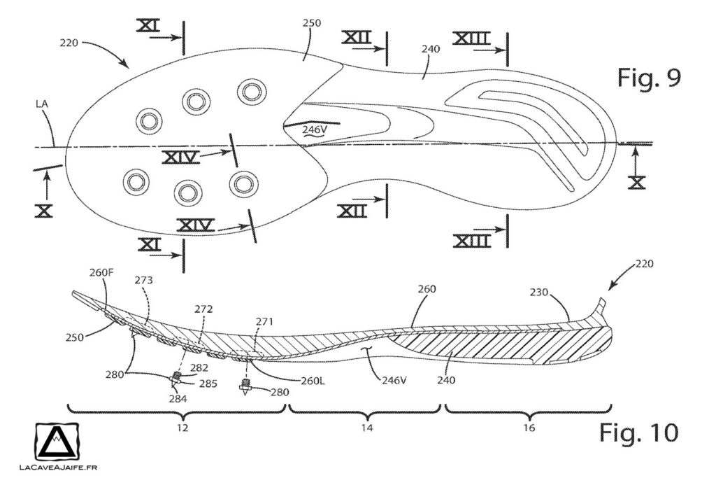
La semelle de cette Saucony
La semelle de cette chaussure semble assez classique avec une semelle externe, 2 plateformes pour former la semelle intermédiaire : une première sur l’ensemble du pied, et une seconde qui est uniquement sur la partie talon avec entre les 2 la plaque carbone. Ces 2 plateformes de la semelle intermédiaires possèdent des évidement pour la forme de la plaque et la plateforme inférieure finie en forme de V pour laisser visible une partie de la plaque carbone.

On notera que la semelle extérieure est beaucoup plus lisse qu’une semelle d’Endorphin, assez proche des semelles des autres « super shoes » comme l’Adizero ou Adios Pro ou la New Balance FuellCell : une semelle très lisse sur l’avant avec juste 2 éléments d’accroche à l’avant et à l’extérieur du talon.
La majeure partie des spécificités de la plaque que propose ici Saucony se concentre sur l’avant de celle-ci, l’arrière étant quasiment plate. Tout d’abord, le brevet indique que la plaque a pour but d’aider le pied à « rouler » pour réduire le temps de contact au sol. On en reparlera après concentrons nous d’abord sur sa construction qui repose en plusieurs points que je vais détailler.
Le premier est que la semelle extérieur est directement en contact avec la plaque carbone sur l’avant. D’après le brevet de Saucony, cela permet à la plaque de mieux absorber et mieux transférer les forces dues à l’impact mais aussi redistribuer l’énergie emmagasinée durant sa flexion vers le bas pour mieux dérouler le pied.
Le second, d’un point de vue dessin, concerne la courbure de l’avant de la plaque, elle est la résultante de 3 cercles dont le point bas est sous l’articulation métatarsophalangienne et avec un rayon croissant.
- Le premier cercle de rayon entre 120 et 145mm se situe au niveau du milieu du pied, il fait la transition avec l’arrière de la plaque.
- Le second a un rayon entre 145 et 165mm, décrit la forme de la plaque sur l’avant du pied
- Le troisième cercle de rayon entre 155 et 175mm, défini l’extrémité de la plaque au niveau de l’articulation distale
![[Brevet] Saucony : déjà la remplacante de l'Endorphin ? 2](https://www.lacaveajaife.fr/wp-content/uploads/2021/02/Saucony_sole-1024x658.jpg)
Et en plus de cette semelle pour chaussure de route, Saucony dévoile aussi une version « spike » pour la piste dans le même esprit
![[Brevet] Saucony : déjà la remplacante de l'Endorphin ? 4](https://www.lacaveajaife.fr/wp-content/uploads/2021/02/Saucony_spike-1024x703.jpg)
Conclusion
Même si l’explication sur le « retour d’énergie » me laisse perplexe, la construction au plus près du sol offre pas mal de possibilités sachant que World Athletics limite à 40mm l’épaisseur de la semelle. Cela permettrait d’après moi de favoriser l’effet teeter-totter si celui-ci est effectivement ce qui aide le déroulé du pied en évitant une déformation excessive de la chaussure à cause d’une partie en mousse plutôt « molle ».
Sur la construction de la plaque, l’approche est intéressante mais manque de développement (normal vous me direz pour un brevet) : pourquoi ces rayons ? comment définir les centres de ceux-ci ? D’un point de vue biomécanique, je dirais qu’ils représenteraient le(s) centres(s) de rotation du pied durant la propulsion ainsi que le rayon permettant la tangence autour ce point. La définition de ces éléments dans le brevet de Saucony aurait apporter, je pense plus de poids, au brevet.
Affaire à suivre !

![[Brevet] Saucony : déjà la remplacante de l'Endorphin ? 1](https://i0.wp.com/www.lacaveajaife.fr/wp-content/uploads/2021/02/banner_saucony_carbon-scaled.jpg?resize=820%2C360&ssl=1)